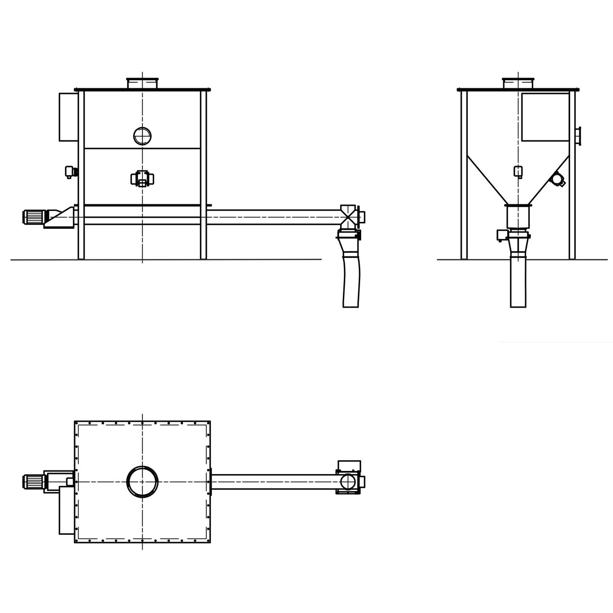
Compact dry dosing systems Two compact dry dosing systems with feed into the building – 2 m³ 1500 x 1500 mm container made of painted stainless steel with telescopic supports, capacity approx. 2 m³, fully automatic control system with signal lightDosing into the building, dosing screw conveyor Ø150 mm made of stainless steelInspection hatch Ø450 mm with hinged lidPlanning sketch of a compact dry dosing system Compact dry dosing system with shut-off flap – 1 m³ Dosing hopper 1200 x 1200 mm made of stainless steel with inlet nozzle Ø300 mm, slide gate between hopper and screw conveyor, vibrator, capacity approx. 1 m³Fully automatic control system with signal light, rotary paddle level switchOutlet with inspection nozzle Ø150 mm, electric motor-driven shut-off flap Ø150 mm, robust UCF flange bearingPlanning sketch of the compact dry dosing system with shut-off flap